Hetzner是德国的老牌的国外服务器商家,成立于1997年,多年以来一直以提供高性能的便宜国外服务器闻名。机房包含德国的纽伦堡、Falkenstein(法尔肯施泰因),芬兰的赫尔辛基,美国的Ashburn(弗吉尼亚州)、俄勒冈州希尔斯(Hillsboro)等等。
Hetzner的云服务器后台,站长用起来感觉比较顺手,Hetzner的独服管理后台用起来感觉还不太习惯,反正功能都是该有的都有:

后台面板
如上图所示,站长购买的这台服务器价格为€39/月,位于Hetzner的德国FSN1-DC8机房,提供1个独立IPv4+IPv6,CPU采用Intel(R) Core(TM) i7-6700,4核8线程,3.70GHz主频,内存为64GB,磁盘为2*512GB SSD,带宽是1Gbit不限流量。下面看看性能怎么样

磁盘读写那是相当不错。再看看FIO测试:

看了一下磁盘通电时间,是620来天,不到2年,还是算比较新的:

磁盘通电时间检测
再上一个UnixBench跑分:

那么网络如何呢?我们先来看看VPSTOP.CN站长本地的延迟情况。

本地ping值基本上270ms~280ms,还是比较高的。
站长工具超级ping:


那么,1G不限流量的带宽,上下行速度如何呢,一起来看一下。

长本地实际下载速度,本地环境中国电信300M带宽WiFi无线上网,测试时间是晚上9:30分高峰时期:

考虑到作为非优化线路的话,这下载速率其实还行。
丢包率检测,还是偏高的,这肯定会对一些地方的朋友的实际连接访问速度造成影响:

看看简明的三网回城线路检测,反正都是走普通线路了:

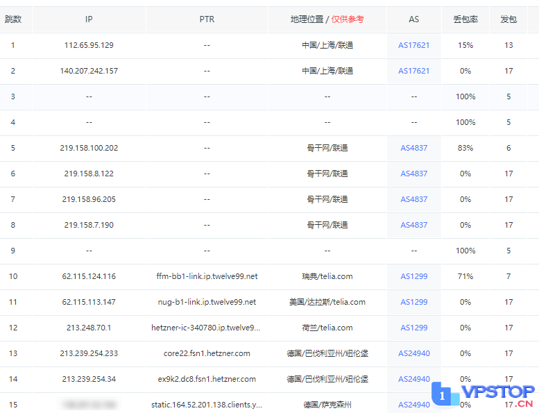
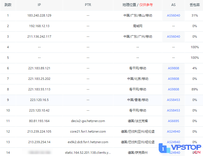
详细的回程路由如下。

广东电信回程

成都联通回程

北京移动回程
再简单看一下去程路由。



NetFlix解锁检测结果如下,Hetzner的独服想来大家也不是为了拿来扶墙解锁的,未免奢侈了点,所以这个顺便测一下,其它欧美流媒体平台解锁情况咱们这次评测就不检测了:

总结一下测评结果。
- 可以说,除了线路垃圾没优化,这价位,别的方面真的没什么好挑剔的。
- 性能强,带宽大不限流,性价比不用说;
- 线路延迟高丢包率高,适合放正式项目,用线路好的小鸡做反代。
- 不适合扶墙解锁等用途。
原创文章,作者:全球vps测评资讯,如若转载,请注明出处:https://borgio3.com/208.html